
24小时在线
冷凝水回收是蒸汽热力系统循环中的一个重要环节,从系统节能的观点出发,冷凝水回收利用的好坏直接影响蒸汽热力系统总的能源利用效率这主要体现在以下几方面1热能价值冷凝水具有蒸汽热能焓值的20%左右,相对于一个。
20180927 冷凝水回收装置的特点是什么? 20140303 蒸汽冷凝水回收装置的详细介绍 13 20181215 请问冷凝水回收装置有没有知名品牌啊?哪种好? 20190802 凝结水的回收方式有哪些? 20170629 常见的凝结水回收系统有哪。
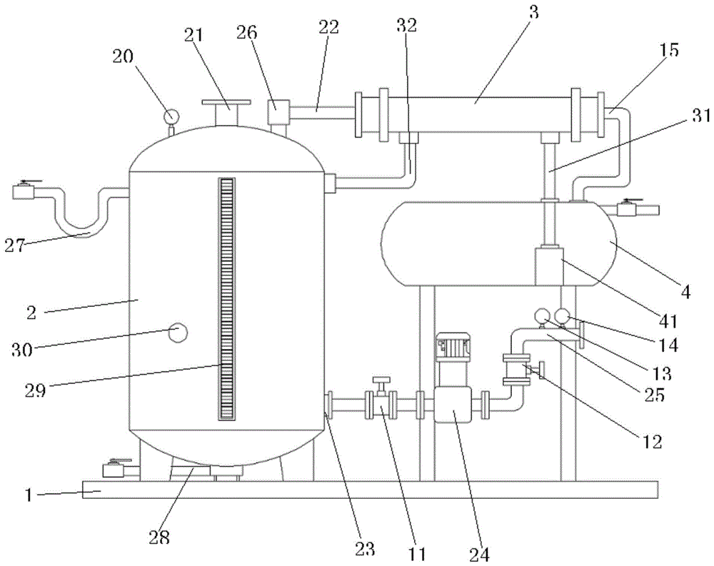
是一种利用物理原理的蒸汽凝结水回收装置用户系统运行正常时,冷凝水从用热设备中排出,经专用疏水装置共网装置等专用疏水装置顺利引入闪蒸罐根据需要可进行二次汽分离利用分离后的冷凝水被热泵引入回水罐,经消汽蚀处。
它是脱了氧的软化水,二次蒸汽回收器的种类很多,有风泠,水冷等等,一般都是换热装置,如有的里面布有管束,管束里面有水流过,通过与二次蒸汽的换热,提高了水温,从而达到一个节约能的目的综上所述才在冷凝水回收器。
条件企业生产工艺要求该类换热设备开机后即处于一种耗汽量和蒸汽使用压力下的稳定负荷管网选择按余压回水方式的限定流速和比摩阻原则设计管径,可不专门设集水罐回收管网直接回收装置回收装置选择按回收的冷凝水流量。
疏水阀也叫自动排水器或凝结水排放器将蒸汽系统中的凝结水空气和二氧化碳尽快排出同时最大限度地自动防止蒸汽的泄露过滤器用来消除介质中的杂质,以保护阀门及设备的正常使用但也有把疏水阀通俗称为疏水过滤器。
网友评论