
24小时在线
「蓝德环保学院」·第4期
本期蓝德环保学院将和大家一同探讨印染厂的染色高温废水的余热回收利用问题。
染色高温废水如何利用?
高温印染废水主要是指染色车间的染缸排放的温度高于常温的废弃水源,水质特点通常表现为:高水温、高污染物浓度,高温高压染色机排放的染整废水,由于染色机在高压下染整,部分染色操作温度高于100℃,泄压后排放的水温高达90℃,常规是直接排放。
染色高温废水带压直接排放的危害主要表现在以下三个方面:
第一、环境问题:造成环境热污染和水质污染
第二、成本问题:浪费废水中的可用余热,导致蒸汽用量居高不下
第三、生产问题:生产效率偏低,影响产量。
如何对染色高温废水进行回收?
印染厂的染色高温废水回收利用存在其独特性,传统技术很难实现真正有效、持久的热能回收,传统技术的弱点通常表现为:
1、热回收效率低下:传统技术无法实现90%以上的实际热回收效率。
2、水比不均等:清污水的转换比例低,无法达到1:1,从而导致浪费。
3、持续使用性能差:节能效率越来越差。
4、维护繁琐、使用麻烦:经常需要人工清理。
印染厂染色高温废水余热回收技术的发展现状
随着时代的发展和技术的进步,针对印染厂染色高温废水的余热回收产品正在逐步成熟并趋于完善,多年的用户使用和实践操作为蓝德公司进一步完善染色高温废水的热能利用提供了扎实的技术支持。
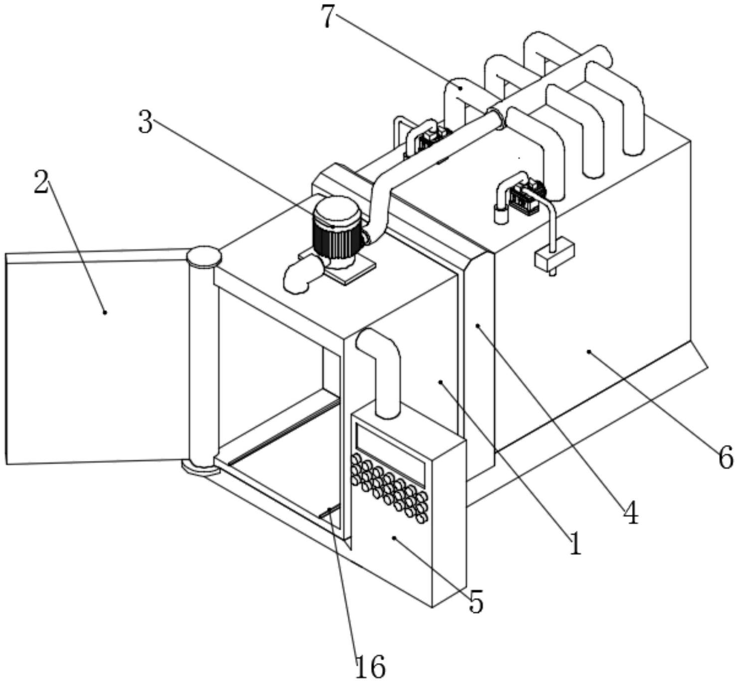
蓝德废水能热水机是专门用于印染厂废水余热回收的专用节能设备,具有以下使用特点:
1、热能回收效率高:实际热回收效率90%以上,即85℃废热水可以转换出80℃以上的清热水,最低温差1℃。
2、水比1:1,即1吨废热水转换1吨清热水
3、全自动化运行:蓝德先进的自动控制系统负责水位、水温、输入、输出等控制,无需人工值守,自动完成全套运转
4、运行费用低、维护方便:加热10吨水只需要0.75度电,耗材少、易损件少、维护便捷,长期使用不堵塞。
咨询电话:0760-87846868,13068152186
网友评论